Il est nettement préférable que le sommier du piano droit soit agencé de manière à ce que, si l’on souhaite réduire le volume total de fer, ce procédé soit appliqué uniformément. La conception la plus appropriée privilégierait un sommier en fer d’épaisseur moyenne, ou mieux encore, en acier. Ce sommier serait agencé de façon à ce que la plaque des chevilles (la partie qui supporte ces chevilles) recouvre toute la surface de l’instrument à son extrémité inférieure et soit boulonnée au dos avec autant de boulons, et de poids équivalent, que ceux utilisés à l’autre extrémité. La partie supérieure du sommier n’a pas besoin de dépasser la surface du sommier d’appui, car une telle construction n’augmenterait que très peu la résistance du cadre, tout en tendant inévitablement, pour les raisons déjà évoquées, à produire des harmoniques dissonantes et, par conséquent, une sonorité métallique. Si, pour une raison quelconque, il est souhaitable de réduire le poids du cadre, il est préférable de le faire à l’extrémité supérieure plutôt qu’à l’extrémité inférieure, où la diminution de la résistance du cadre est la plus fortement ressentie.
On peut donc envisager un cadre métallique recouvrant la partie du cadre arrière où sont collés les bords de la table d’harmonie, et qui ne se prolonge pas au-dessus du sommier. Cette structure sera découpée en son centre, comme sur un piano à queue, laissant ainsi apparaître une grande partie de la table d’harmonie. Elle sera munie de renforts destinés à répartir les tensions exercées sur la structure aux points de plus grande résistance, tels que le début et la fin de la partie de l’echelle qui est tendue sous les cordes graves, ainsi que les registres médiums. Ces renforts ne doivent cependant pas être plus nombreux que nécessaire, car il est essentiel que l’echelle soit divisée en un nombre minimal de sections. Ils seront conçus de manière à ne pas gêner la courbure naturelle du chevalet. L’ensemble sera solidement fixé au cadre arrière, à travers la table d’harmonie, par une série de vis et de boulons longs et robustes, insérés à intervalles réguliers le long des bords.
Nous ne pouvons conclure cette étude de la construction en plaques sans mentionner une propriété commune à toutes les structures en fonte : la contraction thermique. Les calculs du concepteur, aussi précis soient-ils, doivent tenir compte de la contraction important de la fonte lors du refroidissement. Il convient de noter que la conception de la plaque de fer constitue l’essentiel du travail de dessin à l’échelle. Comme expliqué plus loin, ce travail est d’abord réalisé sur papier, puis reporté sur un modèle en bois. C’est à partir de ce modèle que la pièce coulée est réalisée. Une fois la première pièce coulée ainsi terminée, le concepteur la manipule, la marque et la poinçonne pour le perçage et le goupillage, et la corrige si nécessaire. La pièce coulée corrigée sert ensuite de modèle pour les plaques suivantes, qui seront usinées à la même échelle. Mais celles-ci subissent également une contraction ; il est donc nécessaire de prendre en compte les deux contractions et de les compenser. Heureusement, cela ne présente aucune difficulté particulière.
La méthode est la suivante : une fois les longueurs des cordes calculées et la taille du cadre métallique ainsi déterminée, un dessin complet est réalisé, indiquant les dimensions exactes, la forme et les autres caractéristiques du cadre. Ce dessin servira de gabarit pour le modèle en bois. Une différence existe cependant entre les deux dessins sur papier : sur le second, chaque dimension de la plaque est multipliée par un coefficient représentant le retrait connu lors du moulage.
Le contraction moyen de la fonte, notamment pour les cadres de piano, est estimé à environ 1%. Par conséquent, pour tenir compte du double retrait, il est nécessaire de multiplier par le carré de 101/100, soit environ 51/50.
Un calcul précis du contraction de cette manière permettra d’éviter bien des problèmes. Toutes les dimensions du cadre sont concernées, et il convient d’être extrêmement vigilant quant à l’exactitude des calculs corrigés. C’est la seule façon de concrétiser les idées du concepteur dans l’instrument final, conformément à sa vision.
CHAPITRE XI.
LE MÉCANISME DE LA PERCUSSION.
Le marteau du piano est sans doute l’élément le plus remarquable parmi les nombreuses et diverses caractéristiques de cet instrument. Bien qu’il s’agisse d’un dispositif relativement simple, son intérêt historique et musical est primordial. Car si les cordes, le cadre et même la mécanique que l’on retrouve dans les instruments actuels ne sont que des évolutions modernes de leurs ancêtres, le clavicorde et le clavecin, le marteau, au contraire, est l’élément révolutionnaire qui, d’un seul coup, a distingué le piano de tous les autres instruments à cordes et lui a conféré ses attributs uniques et puissants.
C’est en réalité le marteau qui a donné naissance au piano. Dès son intégration dans un clavecin, le piano était né, et aucune amélioration du cordage ou de la structure n’aurait pu modifier de la même manière la nature fondamentale des instruments à clavier. Car il faut reconnaître un fait parfois négligé : le piano est essentiellement un instrument de percussion. Un coup plus ou moins violent du marteau est nécessaire pour exciter les vibrations des cordes et produire le son. Le timbre de l’instrument, dans les conditions les plus favorables, porte nécessairement la marque propre aux sons produits de cette manière. L’importance du marteau comme producteur de son ne saurait donc être sous-estimée. Elle est d’une importance égale à celle de la conception de l’échelle, du cordage et du système de résonance. Nous sommes donc justifiés de consacrer un espace à l’étude de la construction de cet élément essentiel.
On ne peut affirmer avec certitude la nature du matériau recouvrant les marteaux de l’invention originale de Cristofori. On peut toutefois supposer qu’il s’agissait de cuir. On sait que ces marteaux étaient extrêmement petits et apparemment tous de même dimension. Ni Silbermann ni Zumpe n’ont apporté d’améliorations particulières à la conception des marteaux, et l’on constate que le génie révolutionnaire John Broadwood I, ainsi que Sebastian Erard, furent les pionniers dans l’adaptation des marteaux aux styles de jeu plus exigeants que leur invention rendait possibles et favorisait le mécanisme de toucher amélioré.
Broadwood, qui avait le premier perçu la nécessité d’adopter un point de frappe scientifiquement correct, commença également à équiper ses pianos de marteaux de tailles graduées, et c’est sous son impulsion que le marteau recouvert de cuir connut son plein développement.
Mais le cuir, en tant que matériau de revêtement, fut bientôt décrié. On constata qu’il était impossible d’obtenir avec ce matériau le type de sonorité recherché par les jeunes maîtres du piano. Après de nombreuses expérimentations de la part des facteurs de pianos, un Franco-Allemand, Jean-Henri Pape ( 1er juillet 1789 – 2 février 1875 ), installé à Paris, essaya l’utilisation du feutre. Son succès fut immédiat et éclatant : on découvrit que non seulement ce type de revêtement produisait une sonorité plus fine, mais qu’il était également aisé de réguler cette qualité grâce aux marteaux, dans des limites bien définies. Néanmoins, on trouve encore aujourd’hui des pianos carrés dont le revêtement en feutre des marteaux aigus est recouvert de bandes de daim. Cette pratique marqua cependant les derniers soubresauts du marteau recouvert de cuir, et nous ne l’utilisons plus aujourd’hui.
Il est vrai que l’utilisation du feutre présente des inconvénients notables. Il s’use rapidement et, à moins d’être constamment entretenu à l’aide d’aiguilles à feutre, d’un fer à repasser et d’une lime à papier de verre, il finit par produire un son dur et désagréable. Ce défaut provient du fait que, dans sa conception habituelle, la frappe continue de la tête du marteau sur les cordes entraîne un tassement et une compression importants du feutre sur le sommet de la tête, ainsi qu’une déformation de celle-ci. Comme nous l’expliquerons plus loin, cette modification de la composition initiale de la tête du marteau induit une modification de la nature des vibrations produites dans les cordes et, comme nous l’avons déjà vu, cette modification de l’excitation produite est à l’origine d’un son désagréable. Néanmoins, et malgré ces inconvénients réels, l’utilisation du feutre comme revêtement des têtes du marteau de piano est aujourd’hui universelle. Il ne semble pas non plus probable, à l’heure actuelle, de trouver un substitut supérieur. Cependant, comme nous le verrons bientôt, un simple changement dans la manière de fixer le feutre à la base en bois de la tête du marteau peut contribuer largement à la durabilité et à l’efficacité de l’ensemble de la structure, à la fois en tant que moyen de production sonore et en tant que dispositif mécanique.
Comme le lecteur le devinera, le revêtement des marteaux de piano avec du feutre était autrefois une opération fastidieuse. Le matériau était découpé séparément pour chaque marteau, puis collé à la main sur la tête en bois. Or, cette méthode présentait l’inconvénient majeur de ne fournir aucun repère précis pour les épaisseurs réelles et aucun moyen, hormis la découpe manuelle, d’obtenir des épaisseurs parfaitement régulières. Il revint à un inventeur américain (ou germano-américain) de concevoir une machine capable de coller et de finir un jeu complet de marteaux à partir d’une seule feuille de feutre continue, dont l’épaisseur était graduée lors de sa fabrication et qui garantissait la quantité exacte de feutre, pour un poids total quelconque, le tout avec une grande régularité. Non seulement cela fut le cas, mais les méthodes de fabrication du feutre pour d’autres usages spécifiques liés à la fabrication des pianos furent entièrement révolutionnées, si bien qu’aujourd’hui, nous fabriquons avec succès des étouffoirs, des poinçons et de nombreuses autres pièces du mécanisme des pianos à partir de divers types de feutre, qui varient considérablement en consistance, en épaisseur et en autres propriétés.
Revenons-en au cas particulier du feutre pour marteaux. On constate que les méthodes originales d’assemblage des couches de laine cardée ont été considérablement améliorées, principalement grâce aux efforts de l’inventeur mentionné précédemment. Il est désormais aisé de produire des feuilles de feutre pour la fabrication de marteaux de piano présentant le poids, la taille et l’épaisseur souhaités.
Le poids des feuilles de feutre varie largement selon le type de marteaux à fabriquer. Ainsi, comme on peut s’en douter, les pianos à queue de concert sont généralement équipés de marteaux plus épais, tandis que les instruments plus petits ont des marteaux de plus en plus petits. Le poids exact varie selon le bon vouloir ou les calculs des fabricants et des concepteurs. En moyenne, une feuille de feutre pour marteaux destinés à un piano à queue de concert de 2,74 mètres (9 pieds) pèse entre 7,2 et 8,2 kg (16 à 18 livres). Ce poids n’inclut pas la sous-couche de feutre, collée directement sur la tête en bois du marteau et utilisée pour améliorer la souplesse des marteaux inférieurs. Il est généralement omis dans les aigus.
Les marteaux de piano droit sont souvent frappés avec du feutre pesant au maximum 3,6 kg par feuille, mais ce poids semble insuffisant pour un résultat optimal. 4,5 kg suffisent amplement dans la plupart des cas.
Comme indiqué précédemment, la base du marteau est une moulure en bois. Sur celle-ci est collée, à l’aide d’une machine, une bande de sous-feutre suffisamment longue pour couvrir des marteaux de cinq octaves et demie ou six octaves, en comptant des basses vers les aigus. Le feutre principal est ensuite posé par-dessus, l’extrémité la plus épaisse se trouvant au niveau des basses les plus graves. Grâce aux machines désormais courantes, il est possible de coller l’ensemble du sous-feutre et du feutre de surface en une seule pièce. Les moulures sont ensuite séparées et l’opération est terminée. Il est d’usage d’insérer un petit morceau de fil de fer, plié en boucle, dans chaque marteau afin de renforcer la fixation.
Comme on peut aisément l’imaginer, la fabrication, la qualité du feutrage et les dimensions des marteaux finis exigent une grande minutie. Une longue pratique, des études approfondies et une solide expérience ont permis aux spécialistes qui se consacrent à la préparation des marteaux et du feutrage de les commercialiser avec le plus grand soin, leur permettant ainsi de proposer des produits d’une qualité exceptionnelle.
Plusieurs tentatives ont été faites pour concevoir une tête de marteau et une méthode de feutrage permettant de pallier la détérioration rapide du feutre collé et compressé, due au martelage des cordes en fil d’acier rigide. Le feutre, qui doit être compressé avant d’être collé sur la moulure en bois, durcit rapidement de façon excessive. De plus, sa fixation à la moulure est loin d’être permanente. Il a été suggéré de placer le feutre dans une enveloppe en bois qui s’étendrait latéralement sur toute la longueur de la moulure. La feuille de feutre compressée serait insérée dans cette enveloppe et fixée, de manière à être constamment protégée par un revêtement extérieur en bois. Ainsi, non seulement la fixation du feutre au bois serait plus sûre, mais le martelage des cordes n’entraînerait pas un durcissement excessif du feutre. En effet, il n’y aurait plus de support en bois rigide entre lequel les cordes et le feutre seraient constamment comprimés. Cette idée est prometteuse et sera sans doute adoptée.
Les détails du réglage des marteaux par rapport au reste de la mécanique et de leur préparation par le régulateur de tonalité, en vue d’une meilleure production d’un son homogène et de qualité, seront traités dans les chapitres consacrés à la régulation de la mécanique et du son.
CHAPITRE XII. LE MÉCANISME DE TOUCHER.
Lorsque l’idée du marteau a germé dans l’esprit de Cristofori et des autres expérimentateurs qui, à la même époque, s’efforçaient d’améliorer les possibilités dynamiques des instruments à clavier, on peut être certain que la difficulté de concevoir un mécanisme reliant le marteau à la touche leur causa bien des perplexités. On comprend aisément combien l’ingénieux Italien a dû travailler, gardant constamment à l’esprit l’image du dulcimer et de son musicien, pour obtenir un substitut mécanique efficace à la frappe imprécise du marteau manuel du dulcimer, ainsi qu’au mécanisme du clavecin, dont la dynamique était limitée. Il est surprenant de constater à quel point les principes actuels de la mécanique du piano ont été élaborés tôt par ces pionniers. Comme nous l’avons déjà mentionné, Cristofori obtint, avant sa mort, un système de blocage complet du rebond du marteau et un mécanisme d’échappement dont les éléments essentiels se retrouvent, inchangés, sur les pianos carrés de type « mécanisme anglais » qui nous sont parvenus. Notons également que l’invention de Backers, perfectionnée par John Broadwood Ier, demeure aujourd’hui le mécanisme de référence de nombreux pianos à queue anglais et européens. De plus, jusqu’à l’adoption généralisée du modèle Steinway,dont les cordes médiums tendues sous les cordes graves, certains facteurs allemands se contentaient d’équiper leurs pianos à queue d’entrée de gamme d’une version légèrement modifiée de la mécanique viennoise inventée par l’extraordinaire Nanette Stein, devenue ensuite Madame Streicher. Cette mécanique se caractérisait notamment par la mobilité du talon du marteau et la position fixe du levier. Le fait que ces premiers mécanismes aient satisfait les pianistes jusqu’à une époque récente témoigne de la fiabilité et de la robustesse des fondements mécaniques sur lesquels ils reposaient.
Il n’est pas nécessaire de s’étendre sur les détails de ces premiers mécanismes. Les illustrations ci-jointes suffiront à en révéler les principes de fonctionnement. On peut toutefois constater que la différence radicale de toucher entre les modèles viennois (Streicher) et ceux de Broadwood (connus sous le nom de mécanisme anglais) a continué de gêner les interprètes jusqu’à ce que les exigences techniques croissantes de l’école virtuose moderne et les progrès réalisés dans le tréfilage et la fonte du fer rendent inévitable le remplacement du mécanisme Streicher, très léger, par le modèle anglais Broadwood, plus lourd, plus durable et plus performant, qui est resté en vogue jusqu’à une époque récente.

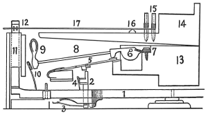
1. touche.
2. bâtons d’échappement.
3. ressort d’échappement.
4. coussin limitant le rebond du bâton d’échappement.
5. sous-marteau.
6. noix de marteau.
7. fourche de marteau.
8. manche de marteau.
9. tête de marteau.
10. attrape.
11. lame d’étouffoir.
12. étouffoir.
13. sommier de mécanique.
14. sommier de chevalet.
15. cheville.
16. sillet.
17. corde.

1. touche.
2. échappement.
3. ressort d’échappement.
4. coussin limitant le rebond d’échappement.
5. bouton et vis de réglage de l’échappement à marteau.
6. noix de marteau.
7. pivot du noix du marteau.
8. manche de marteau.
9. tête du marteau.
10. attrape.
11. lame d’étouffoir.
12. étouffoir.
13. rails du mécanisme.

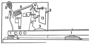
1. touche.
2. échappement.
3. Ressort d’échappement.
4. butée d’échappement.
5. bouton d’échappement.
6. noix de marteau.
7. fourche pour le noix de marteau.
8. manche de marteau.
9. tête de marteau.
10. attrape.
13. rails de mécanique.

1. touche.
2. chevalet de mécanique.
3. échappement.
4. lame d’échappement.
5. manche de marteau.
6. rouleau.
7. tête du marteau.
8. bouton d’échappement.
9. bouton de réglage de la course du lame d’échappement.
10. noix de marteau.
11. attrape.
12. coussin en feutre pour l’attrape.
13. tige reliant la touche et l’échappement.
14. rails de la mécanique.
15. tête d’étouffoir.
16. Dispositif d’actionnement de l’étouffoir.
17. Dispositif de limitation de la course du échappement.
18. Corde.
19. Ressort (en forme de V) pour le lame d’échappement et l’échappement.
